聯系人:王經理
銷售電話:15610293837
銷售QQ:2962700085
公司地址:山東省濰坊高新區新城街道玉清社區光電路155號濰坊高新區光電產業加速器(一期)1號樓301

PRODUCT CENTER
聯系人:王經理
銷售電話:15610293837
銷售QQ:2962700085
公司地址:山東省濰坊高新區新城街道玉清社區光電路155號濰坊高新區光電產業加速器(一期)1號樓301
氣象站監測設備又稱氣象設備,氣象站設備,氣象站監測設備是用于測量和記錄氣象要素的儀器和設備,該設備免調試,可快速布置,廣泛運用于氣象、農業、林業、環保、海洋、機場、港口、科學考察、校園教育等領域。
一、氣象站監測設備產品簡介
氣象站監測設備又稱氣象設備,氣象站設備,氣象站監測設備是用于測量和記錄氣象要素的儀器和設備,該設備免調試,可快速布置,廣泛運用于氣象、農業、林業、環保、海洋、機場、港口、科學考察、校園教育等領域。
WX-CQX5超聲波氣象站(具備省級校準證書)是一款高度集成、低功耗、可快速安裝、便于野外監測使用的高精度自動氣象觀測設備。
該設備免調試,可快速布置,廣泛運用于氣象、農業、林業、環保、海洋、機場、港口、科學考察、校園教育等領域。
與傳統的超聲波氣象站相比,我司產品克服了對高精度計時器的需求,避免了因傳感器啟動延時、解調電路延時、溫度變化而造成的測量不準問題。
該設備創新性的采用五要素一體式傳感器,可對風速、風向、溫度、濕度、氣壓等氣象要素進行實時觀測,可實現戶外氣象參數24小時連續在線監測,通過數字量通訊接口將五項參數一次性輸出給用戶。
二、氣象站監測設備產品特點
1、頂蓋隱藏式超聲波探頭,避免雨雪堆積的干擾,避免自然風遮擋
2、原理為發射連續變頻超聲波信號,通過測量相對相位來檢測風速風向
3、風速、風向、溫度、濕度、氣壓五要素一體式傳感器
4、標配GPRS;可選配RJ45、以太網、4-20ma、Lora透傳、4G透傳、藍牙、485轉USB等多種傳輸方式
5、兩米碳鋼支架,頂部無需法蘭盤可直接套接傳感器
6、傳感器外殼采用進口ASA材質,更有效對抗鹽霧等環境,防護等級達到IP65以上
三、氣象站監測設備技術參數
1.風速(標配):量程:0~60m/s;分辨率0.01m/s;精度:±0.1m/s
2.風向(標配):量程:0~360°;分辨率:1°;精度:±2°
3.空氣溫度(標配):量程:-40-60℃;分辨率0.01℃;精度:±0.3℃(25℃)
4.空氣濕度(標配):量程:0-100%RH;分辨率:0.01%RH;精度:±3%RH
5.大氣壓力(標配):量程:30-110Kpa;分辨率0.01Kpa;精度:±0.25%
6.其他可選配要素:壓電雨量、TSP、一氧化碳、二氧化硫、二氧化氮、光學雨量、臭氧、PM2.5、PM10、噪聲、總輻射、光照度、二氧化碳、氧氣含量、硫化氫、氫氣、氯氣、氨氣、氯化氫、氰化氫、氟化氫、磷化氫、二氧化氯、環氧乙烷、一氧化氮、過氧化氫、四氫噻吩、甲醛、VOC、催化燃燒可燃氣
7.采集器供電接口:GX-12-3P插頭,輸入電壓5V,帶RS232輸出Json數據格式,采集器供電:DC5V±0.5V峰值電流1A
8.傳感器modbus、485接口:GX-12-4P插頭,輸出供電電壓12V/1A,設備配置接口:GX-12-4P插頭,輸入電壓5V
9.太陽能供電、配置鉛酸電池,可選配30W 20AH/50W 40AH/100W 100AH.充電控制器:150W,MPPT自動功率點跟蹤,效率提高20%
10.數據上傳間隔:1分鐘-1000分鐘可調
11.安卓7寸觸屏,屏幕尺寸:1024*600 RGB LCD
12.整機取得省級校準證書
13.生產企業為3A級信用企業
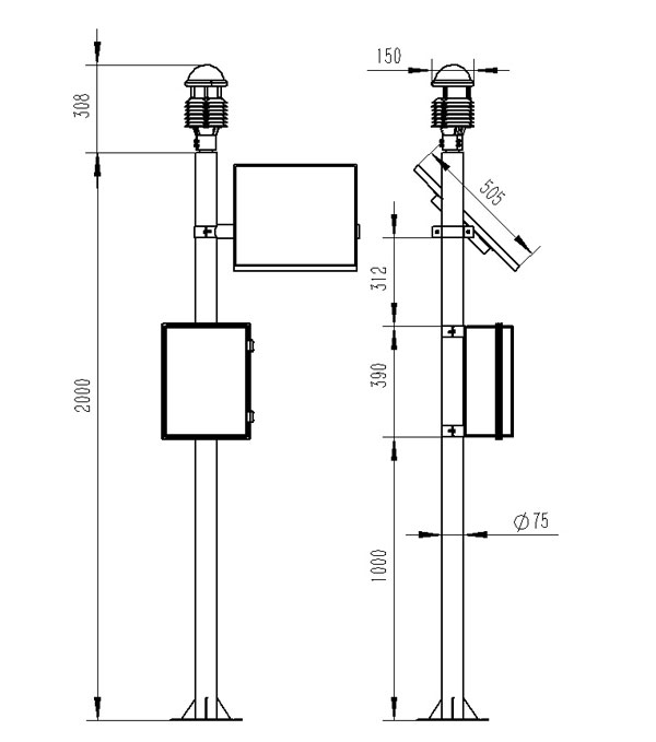
四、氣象站監測設備產品尺寸圖
五、氣象站監測設備產品結構圖
六、氣象站監測設備上位機軟件介紹
1、PC單機版數據接收、存儲、查看、分析軟件
2、支持串口數據接收、處理、展示
3、支持json字符串、modbus485等通信方式
4、可自設置存儲時間,modbus485采集模式下可自設置采集時間
5、支持自助增加、刪除、修改監測參數的協議、名稱、圖標等
6、支持數據后處理功能
7、支持外置運行javascript腳本
七、氣象站監測設備安卓APP介紹
1、安卓單機版數據接收、存儲、查看、分析軟件
2、支持藍牙數據接收
3、手機休眠后軟件后臺接收、處理
4、json數據自動添加設備,modbus設備支持掃碼添加設備
5、支持歷史數據查看、分析、導出表格,支持曲線展示、單數據點查看。
6、支持數據后處理功能
7、支持外置運行javascript腳本
八、云平臺介紹
1、CS架構軟件平臺,支持手機、PC瀏覽器直接觀測、無需額外安裝軟件。
2、支持多帳號、多設備登錄
3、支持實時數據展示與歷史數據展示儀表板
4、云服務器、云數據存儲,穩定可靠,易于擴展,負載均衡。
5、支持短信報警及閾值設置
6、支持地圖顯示、查看設備信息。
7、支持數據曲線分析
8、支持數據導出表格形式
9、支持數據轉發,HJ-212協議,TCP轉發,http協議等。
10、支持數據后處理功能
11、支持外置運行javascript腳本
WX-CSQX2風速監測儀是一款萬象環境生產的利用超聲波監測風速風向的設備,由于風速大小、方向還有濕度等的不同,會產生許多類型的風,而適當的風速對改善農田環境條件起著重要作用,所以對風速和風向進行測量對農業生產也有幫助。風力過大也會對人類的生活和生產造成災害,甚至威脅到人的生命安全,真確數據有利于避免風對農作物乃至于人類的傷害。···
WX-NQ14高標準農田氣象站通過集成先進的傳感器技術和數據傳輸系統,能夠實時監測農田環境中的溫度、濕度、風速、風向、降雨量等關鍵氣象要素。這些數據不僅有助于農民及時了解天氣變化,合理安排農事活動,還能為農業科研和決策提供科學依據。高標準農田氣象站在現代農業中有很多應用案例,可以指導農業生產,農民可以根據氣象站提供的數據···
在這種行業,不允許任何一個小疏忽,WX-FBQ2化工廠防爆氣象站可以防止這種小疏忽出現,它本身品質過硬具有防腐、防爆、防水、防震、防塵功能,適用于在這種復雜的環境下工作,能夠實時監測和記錄氣象參數,及時反映天氣變化情況,為化工生產提供參考。通過數據傳輸設備實現遠程控制,用戶可以在遠程控制中心對氣象站進行參數設置、數據查詢等操作。···
在一個寒風刺骨的清晨,當第一縷陽光試圖穿透厚重的云層,照亮被冰雪覆蓋的橋梁時,WX-JB1橋梁結冰厚度傳感器已經悄然啟動,開始了它一天的工作。這些小巧而精密的設備,通過先進的感應技術,能夠實時監測橋面的結冰情況,精確測量冰層的厚度。一旦冰層達到預設的安全閾值,傳感器立即觸發預警系統,向交通管理部門發送緊急通知,為及時采取除冰措施贏得了寶貴的時間。···
傳統的光伏電站灰塵監測方式往往依賴于人工巡檢和定期清洗,這種方式不僅效率低下,而且難以做到實時監控和精準處理。WX-HS1數字高精度光伏電站灰塵監測系統則通過先進的傳感器和數據分析技術,實現了對光伏板表面灰塵的實時、高精度監測。系統能夠準確捕捉光伏板表面的灰塵積累情況,并生成詳細的監測報告,為電站運營者提供及時、準確的數據支持。···
當你駕車行駛在寬闊的高速公路上,突然遭遇暴雨、濃霧或是強風,那份不安與緊張瞬間涌上心頭。而WX-GQX8高速氣象監測站的存在,就是為了將這些未知的風險降到最低。它們利用先進的雷達、衛星云圖、自動氣象站等設備,24小時不間斷地收集能見度、空氣溫度、濕度、風速風向、降水量等關鍵氣象數據,通過復雜的算法模型,實現對天氣變化的精準預測和即時預警。···