聯系人:王經理
銷售電話:15610293837
銷售QQ:2962700085
公司地址:山東省濰坊高新區新城街道玉清社區光電路155號濰坊高新區光電產業加速器(一期)1號樓301

PRODUCT CENTER
聯系人:王經理
銷售電話:15610293837
銷售QQ:2962700085
公司地址:山東省濰坊高新區新城街道玉清社區光電路155號濰坊高新區光電產業加速器(一期)1號樓301
森林氣象站又稱森林防火氣象站,森林火險監測站,森林氣象站用于監測和預測發生森林火災的氣象條件,預防森林大火的發生,在發生大火時及時采取措施來防止和控制林火災的蔓延,使財產損失降到低點。
一、森林氣象站產品簡介
森林氣象站又稱森林防火氣象站,森林火險監測站,森林氣象站用于監測和預測發生森林火災的氣象條件,預防森林大火的發生,在發生大火時及時采取措施來防止和控制林火災的蔓延,使財產損失降到低點。
森林火災是森林生態系統的大敵,它能在很短時間內,燒毀大面積的森林和大量的林副產品,破壞林分結構和森林環境,破壞自然界生態平衡,造成氣候失調,水土流失,河流淤塞,洪水泛濫或水源枯竭。通過監測容易發生森林火災區域的風速風向、空氣的溫度、相對濕度、太陽輻射等氣象因子,可以對預防森林大火的發生,在發生大火時也可以指導工作人員進行快速合理的滅火工作,使財產損失降到低點。
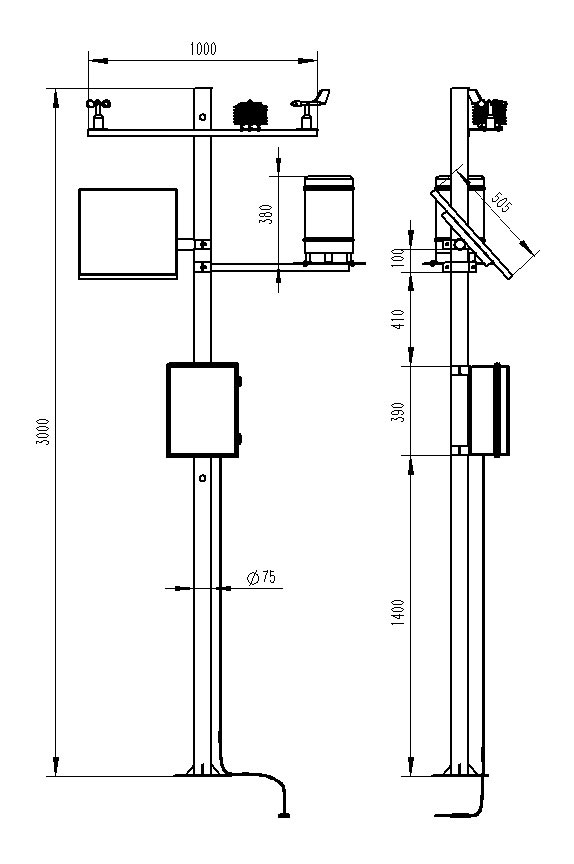
該設備由氣象傳感器,采集器,太陽能供電系統,立桿支架,云平臺五部分組成。免調試,可快速布置,廣泛運用于氣象、農業、林業、環保、海洋、機場、港口、科學考察、校園教育等領域。
二、產品特點
1、低功耗采集器:靜態功耗小于50uA
2、標配GPRS聯網、支持擴展藍牙、有線傳輸
3、7寸安卓觸屏,版本:4.4.2、四核Cortex?-A7,512M/4G
4、支持modbus485傳感器擴展
5、太陽能充電管理MPPT自動功率點跟蹤
6、三米碳鋼支架,兩節法蘭盤對接
7、配備聲光報警器
8、人員靠近設備可聲光喊話報警,可短信/電話云通知
9、ABS材質防護箱,耐腐蝕、抗氧化,防水等級IP66
三、技術參數
名 稱 | 測量范圍 | 分 辨 率 | 準 確 度 |
環境溫度 | -50~+100℃ | 0.1℃ | ±0.5℃ |
相對濕度 | 0~100%RH | 0.1% | ±3% RH |
風 向 | 0~360°(16方向) | 1° | ±5° |
風 速 | 0~60m/s | 0.1m/s | ±(0.3+0.03V)m/s |
雨 量 | ≦4mm/min | 0.2mm | ±0.4mm |
光照強度 | 0-200000Lux | 1Lux | ±2% |
大氣壓力 | 10~1100hPa | 0.1hPa | ±0.3hPa |
土壤溫度 | -50~+80℃ | 0.1℃ | ±0.5℃ |
土壤濕度 | 0~100% | 0.1% | ±3%RH |
二氧化碳 | 0-5000PPM | 1PPM | ±40PPM±讀數的3% |
可以根據用戶需求拓展配置:日照時數、蒸發量傳感器、露點溫度傳感器、紫外線輻射傳感器、光合輻射傳感器等各種氣象要素傳感器。 | |||
供電系統 | 市電/太陽能/多電源供電系統可選 | ||
通訊系統 | RS485、USB、無線GPRS、以太網等通訊方式 | ||
專用支架 | 安裝防護箱、傳感器、供電電源、通訊設備等 | ||
四、產品尺寸圖
五、產品結構圖
六、上位機軟件介紹
1、PC單機版數據接收、存儲、查看、分析軟件
2、支持串口數據接收、處理、展示
3、支持json字符串、modbus485等通信方式
4、可自設置存儲時間,modbus485采集模式下可自設置采集時間
5、支持自助增加、刪除、修改監測參數的協議、名稱、圖標等
6、支持數據后處理功能
7、支持外置運行javascript腳本
七、安卓APP介紹
1、安卓單機版數據接收、存儲、查看、分析軟件
2、支持藍牙數據接收
3、手機休眠后軟件后臺接收、處理
4、json數據自動添加設備,modbus設備支持掃碼添加設備
5、支持歷史數據查看、分析、導出表格,支持曲線展示、單數據點查看。
6、支持數據后處理功能
7、支持外置運行javascript腳本
八、云平臺介紹
1、CS架構軟件平臺,支持手機、PC瀏覽器直接觀測、無需額外安裝軟件。
2、支持多帳號、多設備登錄
3、支持實時數據展示與歷史數據展示儀表板
4、云服務器、云數據存儲,穩定可靠,易于擴展,負載均衡。
5、支持短信報警及閾值設置
6、支持地圖顯示、查看設備信息。
7、支持數據曲線分析
8、支持數據導出表格形式
9、支持數據轉發,HJ-212協議,TCP轉發,http協議等。
10、支持數據后處理功能
11、支持外置運行javascript腳本
WX-SQ17應急管理手持氣象儀器設計精巧,體積小巧輕便,可以輕松佩戴在手腕上或是放入口袋中,隨身攜帶無負擔。別看它外表不起眼,卻內藏乾坤,集成了多種氣象監測傳感器,能夠實時監測空氣溫度、濕度、風速、風向以及氣壓等關鍵氣象參數。這些數據的準確獲取,對于應急管理人員來說至關重要,可以幫助他們迅速判斷當前的氣象狀況,為應急決策提供科學依據。···
在春季氣溫變化比較大的時候,使用七要素微氣象儀可以準確地監測溫度變化,監測降雨和光照,從而及時采取保護措施,避免溫度過低或過高還有旱澇對作物造成傷害。景區環境的質量對于游客的體驗非常重要,而七要素微氣象儀可以監測溫度、濕度、輻射等參數,幫助景區管理者了解當地的氣象狀況,進而及時采取措施,提高游客的體驗感。···
水庫的上游及源頭區域是水質監測的首要位置。在這里安裝WX-LSZ06水庫水質監測設備,可以實時掌握進入水庫的水質狀況,及時發現并預警潛在的水質污染問題。這些設備可以安裝在河流的交匯處、支流入口或者水庫的進水口附近,確保監測數據的全面性和準確性。水庫內部也是水質監測的重要區域。在水庫的不同深度、不同區域安裝水質監測設備,可以獲取更為詳盡的水質數據。···
隨著水資源管理和防洪減災需求的日益增長,水文監測工作顯得尤為重要。在此背景下,水位流速流量監測設備以其創新的技術手段,為水文管理開辟了一條全新的道路。WX-SW3水位流速流量監測設備集成了先進的傳感器技術和智能處理系統,能夠實現對水位、流速和流量等關鍵水文參數的實時監測。這些參數是評估水體狀態、預測洪水災···
PCR,即聚合酶鏈式反應,是一種用于放大擴增特定的DNA的片段的分子生物學技術。而WX-CW16H 4通道16孔熒光定量PCR儀則是在此基礎上,通過檢測熒光信號的強度,實現對DNA或RNA的定量分析。4通道16孔熒光定量PCR儀,從名稱上就能看出它具備4個熒光檢測通道和16個樣本反應孔。這4個通道如同4雙敏銳的眼睛,能夠同時檢測不同熒光標記的探針所發出的信號。···
WX-LDSW02水情監測系統是一款包括水位監測和雨量監測的監測站,對于降雨量監測包括降雨強度、雨量、降雨時長等;對于水位監測包括監測水位變化情況,水位高度、水位變化速度等。這些數據采集完之后會傳輸到云平臺,分析處理后的數據可以應用于水庫管理和利用,包括水庫調度、水資源管理和防洪減災等。···